고품질 제품과 최적화된 솔루션을 제공하는 바람직한 기업
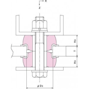
| 형식 | 표준치수(mm)//D1 | 표준치수(mm)//D2 | 표준치수(mm)//d1 | 표준치수(mm)//d2 | 표준치수(mm)//L | 표준치수(mm)//H | 표준치수(mm)//H1 | 표준치수(mm)//H2 | 표준치수(mm)//t | 표준치수(mm)//D3 | 표준치수(mm)//H3 | 표준치수(mm)//T | #고무의경도 (JIS) |
Z방향지지하중 (N) |
스프링정수(N/mm)//Z방향 | 스프링정수(N/mm)//X방향 | 사용볼트 |
|---|---|---|---|---|---|---|---|---|---|---|---|---|---|---|---|---|---|
| RE-38 | 38 | 25 | 15.5 | 10.5 | 15.6 | 17.1 | 17.1 | 13.6 | 1.6 | 25(+0.2/-0) | 11.1 | 9 | 45 | 390 | 590 | 690 | M10 |
| RE-52 | 52 | 35 | 20 | 12.5 | 23.6 | 26.6 | 26.6 | 21.6 | 1.6 | 35(+0.2/-0) | 17.6 | 12 | 45 | 780 | 690 | 690 | M12 |
| RE-72(35) | 72 | 50 | 27 | 17 | 30.3 | 33.3 | 32.3 | 25.3 | 2.3 | 50(+0.2/-0) | 20.8 | 19 | 35 | 980 | 860 | 740 | M16 |
| RE-72 | 72 | 50 | 27 | 17 | 30.3 | 33.3 | 32.3 | 25.3 | 2.3 | 50(+0.2/-0) | 20.8 | 19 | 45 | 1500 | 1180 | 980 | M16 |
| RE-72(60) | 72 | 50 | 27 | 17 | 30.3 | 33.3 | 32.3 | 25.3 | 2.3 | 50(+0.2/-0) | 20.8 | 19 | 60 | 2000 | 1960 | 1770 | M16 |
| RE-98(35) | 98 | 60 | 31 | 21 | 34.8 | 37.8 | 37.3 | 27.3 | 2.3 | 60(+0.2/-0) | 22.3 | 25 | 35 | 2000 | 1770 | 930 | M20 |

사용후기가 없습니다.
상품문의가 없습니다.
- 아린재고가 있는 상품은 결재가 완료되면 결재한 다음날부터 1~3일 이내 전국(도서지방제외)으로 택배를 통해 배송됩니다.
- 아린재고가 없는 수입품의 경우는 납품까지 수일 내지 수주가 소요될 수 있으므로 주문전에 당사에 납기를 미리 확인하여 주십시오.
- 제품크기에 따라 택배나 화물운송업체를 통해 배송해 드리며, 주문금액 20만원 이하의 경우 5,500원의 배송비가 추가됩니다.
- 제주도 등 도서지역의 경우 추가배송 금액이 발생할 수 있으니 주문전에 고객센터로 문의 주십시오.
등록된 상품이 없습니다.