고품질 제품과 최적화된 솔루션을 제공하는 바람직한 기업
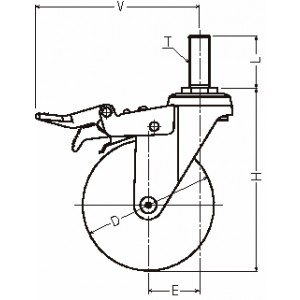
| 형식 | 타입 | 사용차륜 | 차륜경 D (mm) |
차폭 (mm) |
허용하중 (daN/1개) |
#취부높이 H (mm) |
나사 T (mm) |
축길이 L (mm) |
V (mm) |
편심 E (mm) |
선회반경 (mm) |
|---|---|---|---|---|---|---|---|---|---|---|---|
| 920EA-PR75 | 토탈록없음 | 430S-PR | 75 | 22 | 40 | 114 | M16×2.0 | 40 | - | 32 | 71 |
| 920EA-FR75 | 토탈록없음 | 434S-FR | 75 | 27 | 60 | 114 | M16×2.0 | 40 | - | 32 | 71 |
| 920EA-PR100 | 토탈록없음 | 430E-PR | 100 | 22 | 60 | 139 | M16×2.0 | 40 | - | 39 | 90 |
| 920EA-FR100 | 토탈록없음 | 434E-FR | 100 | 27 | 50 | 139 | M16×2.0 | 40 | - | 39 | 90 |
| 920EA-PR125 | 토탈록없음 | 430E-PR | 125 | 22 | 60 | 167 | M16×2.0 | 40 | - | 42 | 106 |
| 920EA-FR125 | 토탈록없음 | 434E-FR | 125 | 27 | 50 | 167 | M16×2.0 | 40 | - | 42 | 106 |
사용후기가 없습니다.
상품문의가 없습니다.
- 아린재고가 있는 상품은 결재가 완료되면 결재한 다음날부터 1~3일 이내 전국(도서지방제외)으로 택배를 통해 배송됩니다.
- 아린재고가 없는 수입품의 경우는 납품까지 수일 내지 수주가 소요될 수 있으므로 주문전에 당사에 납기를 미리 확인하여 주십시오.
- 제품크기에 따라 택배나 화물운송업체를 통해 배송해 드리며, 주문금액 20만원 이하의 경우 5,500원의 배송비가 추가됩니다.
- 제주도 등 도서지역의 경우 추가배송 금액이 발생할 수 있으니 주문전에 고객센터로 문의 주십시오.
등록된 상품이 없습니다.