고품질 제품과 최적화된 솔루션을 제공하는 바람직한 기업
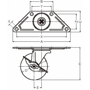
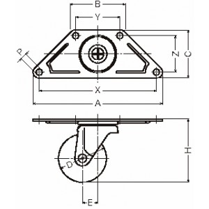
| 형식 | 타입 | 사용차륜 | 차륜경 D (mm) |
차폭 (mm) |
허용하중 (daN/1개) |
#취부높이 H (mm) |
취부좌 A×B×C (mm) |
취부치수 X×Y×Z (mm) |
취부구멍경 P (mm) |
S (mm) |
T (mm) |
U (mm) |
편심 E (mm) |
선회반경 (mm) |
|---|---|---|---|---|---|---|---|---|---|---|---|---|---|---|
| 220G-R50 | 스토퍼없음 | 425G-R | 50 | 20 | 30 | 66 | 135×52×50 | 122×46×38 | 6.5 | 32.5 | 53.7 | 6.5 | 16 | 42 |
| 220G-N50 | 스토퍼없음 | 429G-N | 50 | 21 | 38 | 66 | 135×52×50 | 122×46×38 | 6.5 | 32.5 | 53.7 | 6.5 | 16 | 42 |
| 220G-UR50 | 스토퍼없음 | 439G-UR | 50 | 21 | 38 | 66 | 135×52×50 | 122×46×38 | 6.5 | 32.5 | 53.7 | 6.5 | 16 | 42 |
| 220G-C50 | 스토퍼없음 | 426G-C | 50 | 21 | 40 | 66 | 135×52×50 | 122×46×38 | 6.5 | 32.5 | 53.7 | 6.5 | 16 | 42 |
| 220G-MC50 | 스토퍼없음 | 449G-MC | 50 | 20 | 40 | 66 | 135×52×50 | 122×46×38 | 6.5 | 32.5 | 53.7 | 6.5 | 16 | 42 |
| 220G-R65 | 스토퍼없음 | 425G-R | 65 | 26 | 40 | 80 | 160×63×58 | 139×55×42 | 8.8 | 38.9 | 59.4 | 8.5 | 21 | 55 |
사용후기가 없습니다.
상품문의가 없습니다.
- 아린재고가 있는 상품은 결재가 완료되면 결재한 다음날부터 1~3일 이내 전국(도서지방제외)으로 택배를 통해 배송됩니다.
- 아린재고가 없는 수입품의 경우는 납품까지 수일 내지 수주가 소요될 수 있으므로 주문전에 당사에 납기를 미리 확인하여 주십시오.
- 제품크기에 따라 택배나 화물운송업체를 통해 배송해 드리며, 주문금액 20만원 이하의 경우 5,500원의 배송비가 추가됩니다.
- 제주도 등 도서지역의 경우 추가배송 금액이 발생할 수 있으니 주문전에 고객센터로 문의 주십시오.
등록된 상품이 없습니다.