상품 이미지 새창 보기

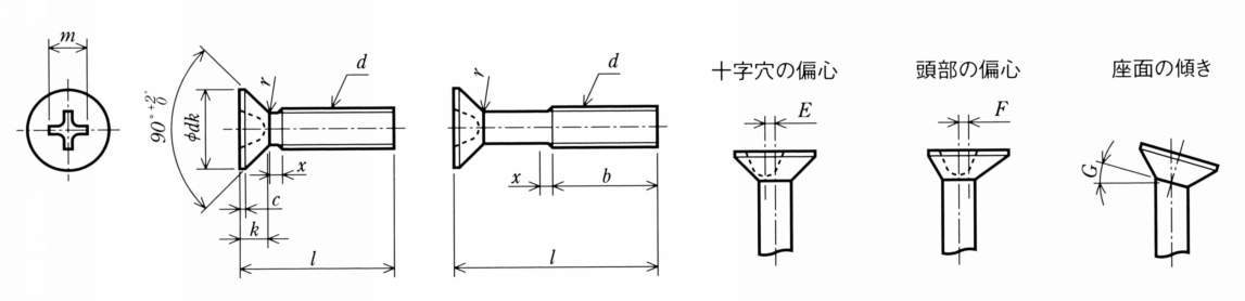
PDTK 티탄십자구멍붙이접시작은나사 PDTK 티탄십자구멍붙이접시작은나사