상품 이미지 새창 보기

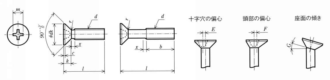
PDSK 스테인레스십자구멍붙이접시작은나사 PDSK 스테인레스십자구멍붙이접시작은나사