상품 이미지 새창 보기

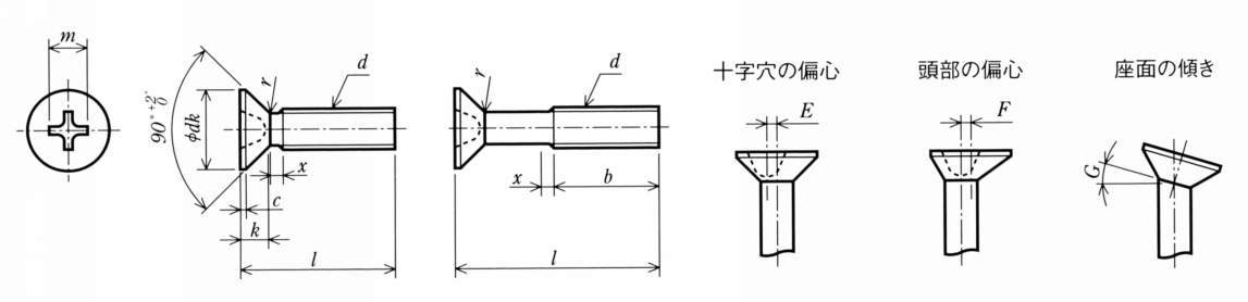
PDIR 십자구멍붙이접시작은나사 3가크로메이트 PDIR 십자구멍붙이접시작은나사 3가크로메이트