상품 이미지 새창 보기

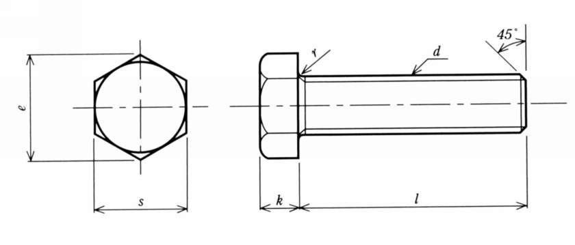
HBTKZ 티탄육각볼트 전체나사 HBTKZ 티탄육각볼트 전체나사