상품 이미지 새창 보기

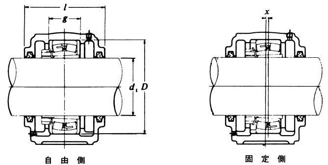
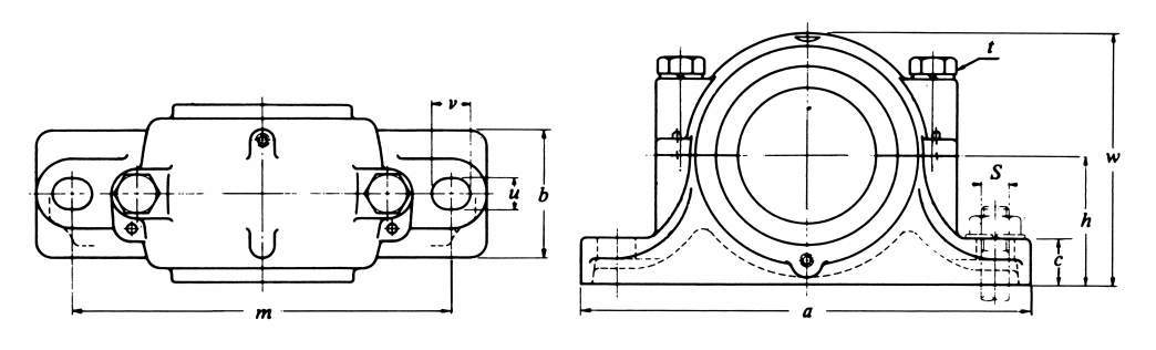
플러머블록 SN3000·3100형 플러머블록 SN3000·3100형 플러머블록 SN3000·3100형