상품 이미지 새창 보기

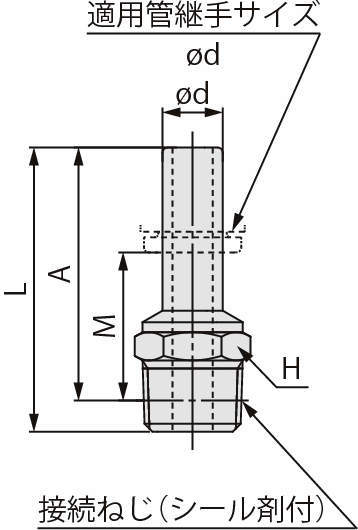
어댑터 KQ2N(씰제) 어댑터 KQ2N(씰제)