상품 이미지 새창 보기

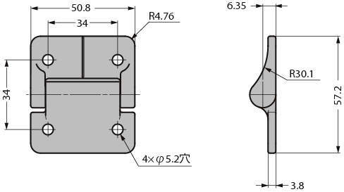
토르크힌지 PHL형 토르크힌지 PHL형