상품 이미지 새창 보기

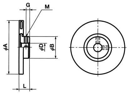
카프리콘 MDR시리즈 카프리콘 MDR시리즈