상품 이미지 새창 보기

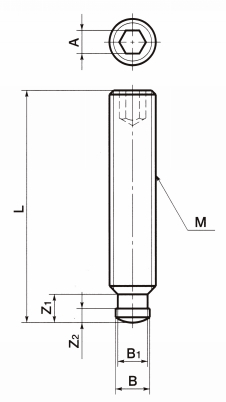
SGT 그랩스크류 SGT 그랩스크류 SGT 그랩스크류 SGT 그랩스크류