상품 이미지 새창 보기

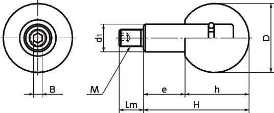
GPB 플라스틱볼회전그립 GPB 플라스틱볼회전그립