상품 이미지 새창 보기

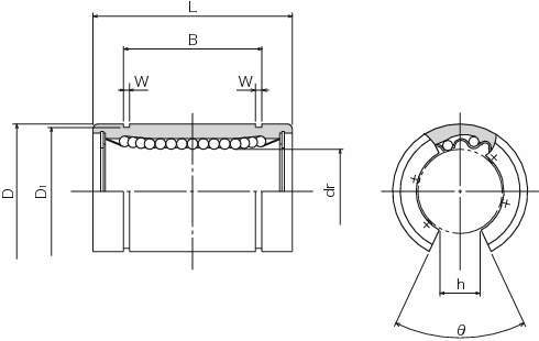
SM-OP 슬라이드부시(싱글·개방형) SM-OP 슬라이드부시(싱글·개방형)