상품 이미지 새창 보기

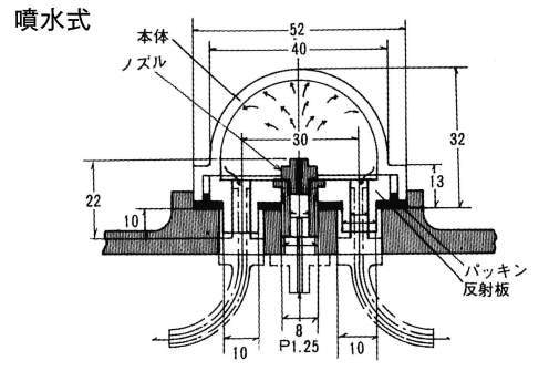
분수식(나사고정식) 분수식(나사고정식)