상품 이미지 새창 보기

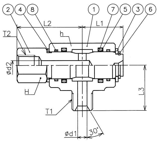
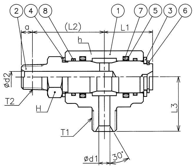
스이벨조인트 SJH7형 스이벨조인트 SJH7형 스이벨조인트 SJH7형