상품 이미지 새창 보기

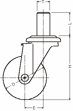
921EK·916EK 921EK·916EK 921EK·916EK