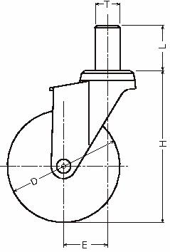
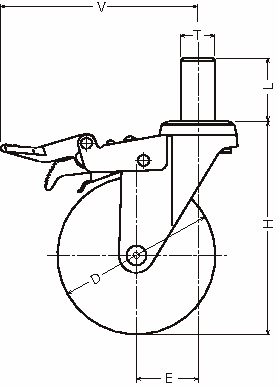
상품 이미지 새창 보기

920EK·915EK 920EK·915EK 920EK·915EK