상품 이미지 새창 보기

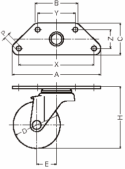
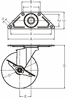
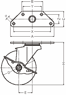
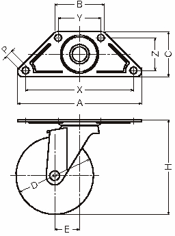
220E·215E 220E·215E 220E·215E 220E·215E 220E·215E