상품 이미지 새창 보기

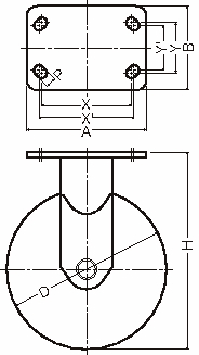
500HPR 500HPR