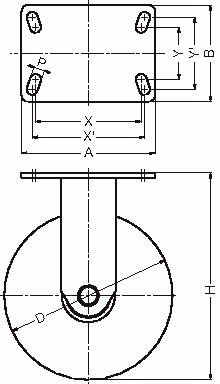
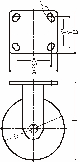
상품 이미지 새창 보기

500BPR 500BPR 500BPR