상품 이미지 새창 보기

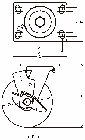
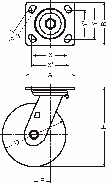
500BPS·519BPS 500BPS·519BPS 500BPS·519BPS