상품 이미지 새창 보기

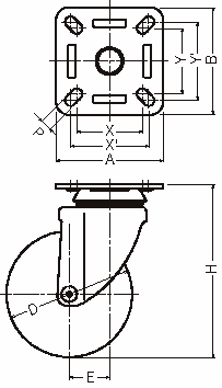
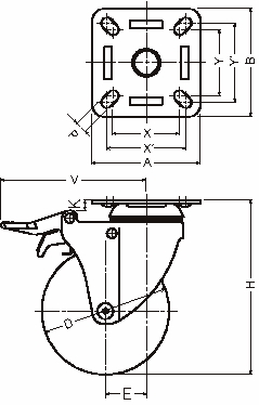
920M·915M 920M·915M 920M·915M