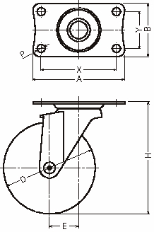
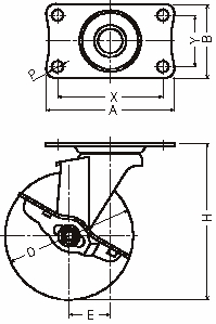
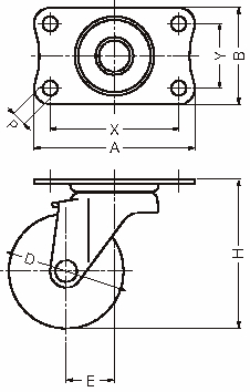
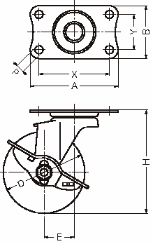
상품 이미지 새창 보기

420E·415E 420E·415E 420E·415E 420E·415E 420E·415E