상품 이미지 새창 보기

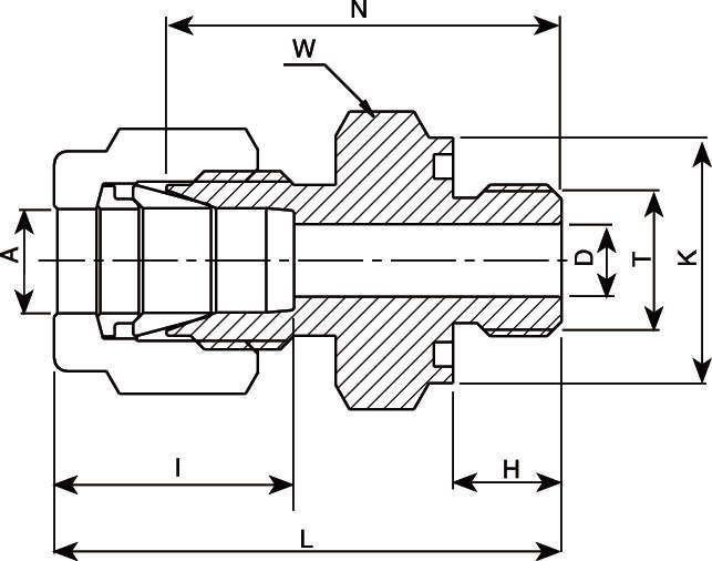
V-Lok 하프유니온(UNF) V-Lok 하프유니온(UNF)