상품 이미지 새창 보기

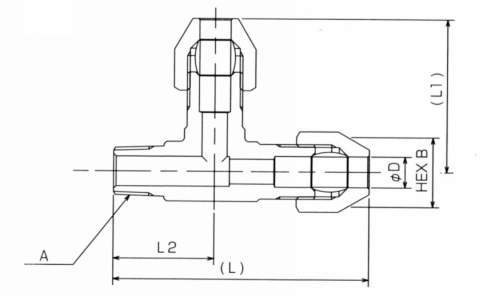
RTL(티엘유니온)형 RTL(티엘유니온)형