상품 이미지 새창 보기

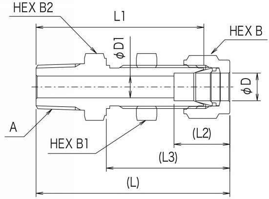
파워풀록 하프판넬유니온(R나사) 파워풀록 하프판넬유니온(R나사)