상품 이미지 새창 보기

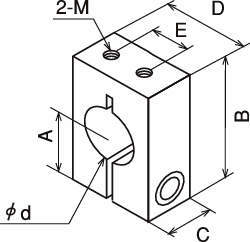
파이존 523~528 파이존 523~528