상품 이미지 새창 보기

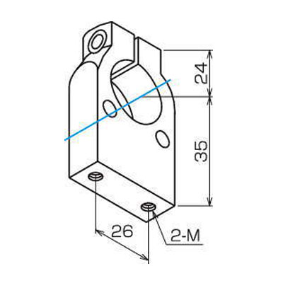
파이존 PH128·PH129 파이존 PH128·PH129