상품 이미지 새창 보기

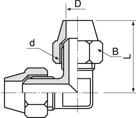
양구플레어엘보 양구플레어엘보