상품 이미지 새창 보기

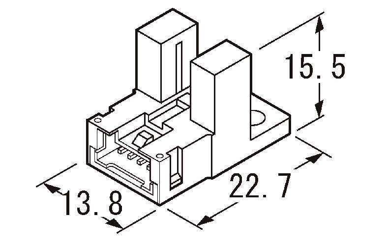
컨넥터내장·ㄷ자형형마이크로포토센서(앰프내장) PM-64시리즈 컨넥터내장·ㄷ자형형마이크로포토센서(앰프내장) PM-64시리즈 컨넥터내장·ㄷ자형형마이크로포토센서(앰프내장) PM-64시리즈 컨넥터내장·ㄷ자형형마이크로포토센서(앰프내장) PM-64시리즈 컨넥터내장·ㄷ자형형마이크로포토센서(앰프내장) PM-64시리즈